Skip to main content

A Curious Engineer Overturns Waymo Key LiDAR Patent

Ars Technica: Following a complaint by Eric Swildens, the USPTO has rejected all but three of 56 claims in Waymo's US9368936 patent. The USPTO found that some claims replicated technology described in an earlier patent from Velodyne, while another claim was simply "impossible" and "magic."

"The patent shouldn't have been filed in the first place," Swildens said. "It's a very well written patent. However, my personal belief is that the thing that they say they invented, they didn't invent."

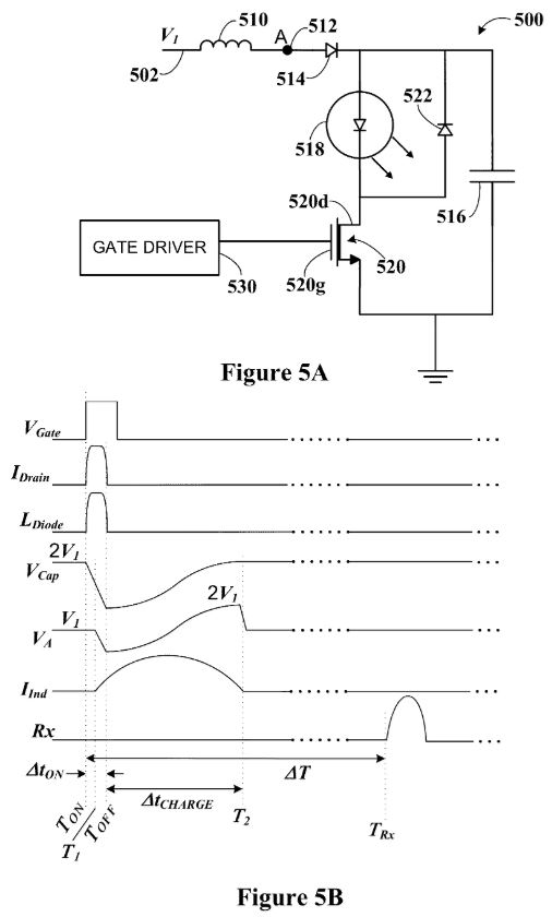
The 936 patent played a key role in last year's lawsuit with Uber. In December 2016, a Waymo engineer was inadvertently copied on an email from one of its suppliers to Uber, showing a LiDAR circuit design that looked almost identical to the one shown in the 936 patent:


Swildens said to Wired in 2017: "I couldn't imagine the circuit didn't exist prior to this patent." He then spent $6,000 of his own money to launch a formal challenge to 936 and won in the court.

Thanks to AM for the pointer!

Comments

Popular posts from this blog

Samsung Expects 10% of Smartphones to Have Triple Camera Next Year

SeekingAlpha : Samsung reports an increase in image sensor sales in Q2 2018 and a strong forecast for both its own image sensor and also the image sensors manufactured at Samsung foundry. Regarding the triple camera trends, Samsung says: " First of all, regarding the triple camera, the triple camera offers various advantages, such as optical zoom or ultra-wide angle, also extreme low-light imaging. And that's why we're expecting more and more handsets to adopt triple cameras not only in 2018 but next year as well. But by next year, about 10% of handsets are expected to have triple cameras. And triple camera adoption will continue to grow even after that point. Given this market outlook, actually, we've already completed quite a wide range of sensor line-up that can support the key features, such as optical zoom, ultra-wide viewing angle, bokeh and video support so that we're able to supply image sensors upon demand by customers. At the same time, we will continue t...

Zoom - Home Edition 1.3.0.0 | Perpustakaan Slide - semua slide Anda dalam satu tempat untuk memilih, menciptakan, cetak, email

Zoom - Perpustakaan Slide adalah kecil, sederhana, mudah untuk menggunakan alat organisasi yang dirancang khusus untuk presentasi PowerPoint. Zoom memberikan gambaran lengkap dari seluruh perpustakaan slide PPT.  Anda dapat memilih, cetak, email, atau pdf slide yang ada dan presentasi. Anda dapat bekerja di beberapa slide presentasi dengan PowerPoint tanpa menyentuh sama sekali. Anda dapat

Review of Ion Implantation Technology for Image Sensors

MDPI Sensor publishes " A Review of Ion Implantation Technology for Image Sensors " by Nobukazu Teranishi, Genshu Fuse, and Michiro Sugitani from Shizuoka and Hyogo Universities and Sumitomo. " Image sensors are so sensitive to metal contamination that they can detect even one metal atom per pixel. To reduce the metal contamination, the plasma shower using RF (radio frequency) plasma generation is a representative example. The electrostatic angular energy filter after the mass analyzing magnet is a highly effective method to remove energetic metal contamination. The protection layer on the silicon is needed to protect the silicon wafer against the physisorbed metals. The thickness of the protection layer should be determined by considering the knock-on depth. The damage by ion implantation also causes blemishes. It becomes larger in the following conditions if the other conditions are the same; a. higher energy; b. larger dose; c. smaller beam size (higher beam current d...